• 东光首页
  • 关于我们
  • 产品展示
  • 新闻资讯
  • 应用案例
  • 销售网络
  • 阀门知识
  • 留言反馈
  • 联系我们
  • 当前位置 : 公司主页 - 产品展示 - 汽水分离器UFS
    汽水分离器UFS
    产品名称:

    汽水分离器UFS

    产品型号:UFS
    询问汽水分离器UFS价格
    咨询电话:021-51696106
    传真:021-51696106
    点击看大图
    汽水分离器UFS制造标准:中国GB、美标API、德标DIN、日本JIS、JPI、英标BS生产。汽水分离器UFS材质:铜、铸铁、铸钢、碳钢、锻钢、不锈钢、304、316、316L、低温钢等。工作压力1.0Mpa-50.0Mpa。工作温度:-196℃-650℃。连接方式:螺纹、法兰、焊接、卡套、卡箍。驱动方式:手动、气动、电动。东光阀门拥有顶尖的生产设备和技术工程师,按照各国标准以及各种行业标准生产制造各种阀门。
      产品介绍
      产品介绍:UFS型铸钢汽水分离器
      •UFS型汽水分离器用于蒸汽、压缩空气及其它气体系统可除去蒸汽、空气或气体等系统中所含水分。
      •汽水分离器将分离出的水滴,沿倾斜管壁聚集后由一专门排水口排出。因此,汽水分离器能确保设备所使用蒸汽的干燥性,这一点对于提高设备生产力和产品质量尤其重要,并可延长设备及其控制阀的使用寿命。
      •本产品是挡板式分离器用于分离蒸汽、压缩空气和气体系统中内含的夜滴,阀内有梯形挡板,分离效率高。配上绝热套可提高分离器的工作性能。
      •此分离器安装在水平管道上且排水口向下,为了保证分离的液体尽快排走,排液口要连接合适的排液阀或蒸汽疏水阀。

             

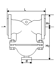
      UFS汽水分离器技术参数表
      产品型号
      公称通径DN
      连接方式
      使用压力(Mpa)
      最高允许温度(℃)
      外型尺寸(mm)
      L
      H1
      H2
      D(法兰)
      UFS-16C
      UFS-25C
      25
      Flange法兰
      0.01~2.5
      350
      130
      57
      167
      DN15
      32
      Flange法兰
      0.01~2.5
      350
      210
      70
      195
      DN15
      40
      Flange法兰
      0.01~2.5
      350
      270
      80
      250
      DN15
      50
      Flange法兰
      0.01~2.5
      350
      270
      80
      250
      DN25
      65
      Flange法兰
      0.01~2.5
      350
      310
      90
      285
      DN25
      80
      Flange法兰
      0.01~2.5
      350
      400
      98
      330
      DN25
      100
      Flange法兰
      0.01~2.5
      350
      400
      108
      370
      DN25
      125
      Flange法兰
      0.01~2.5
      350
      400
      122
      370
      DN32
      150
      Flange法兰
      0.01~2.5
      350
      450
      140
      410
      DN32
      200
      Flange法兰
      0.01~2.5
      350
      450
      168
      435
      DN32
      250
      Flange法兰
      0.01~2.5
      350
      550
      203
      517
      DN32
      300
      Flange法兰
      0.01~2.5
      350
      600
      260
      570
      DN32
      350
      Flange法兰
      0.01~2.5
      350
      700
      275
      650
      DN32
      主体材质
      碳钢WCB

      (DN400以上或者压力4.0Mpa以上需要定做)
      汽水分离器安装示意图
       



      汽水分离器UFS相关产品
      干燥型汽水分离器AS7
       干燥型汽水分离器AS7
      汽水分离器CF11
       汽水分离器CF11
      汽水分离器UFS
       汽水分离器UFS
      汽水分离器CF41
       汽水分离器CF41

    产品展示

    • 台湾东光阀门
    • 东光闸阀
    • 东光球阀
    • 东光蝶阀
    • 东光截止阀
    • 东光针型阀
    • 东光止回阀
    • 东光过滤器
    • 东光疏水阀
    • 东光排气阀
    • 东光阻火器
    • 东光安全阀
    • 东光减压阀
    • 东光消防阀门
    • 台湾nicoson疏水阀

    站内搜索

    东光阀门|
    Copyright ©2004-2011 台湾东光阀门有限公司 All Rights Reserved.地址: 上海市  
    电话:021-51696106  传真: 021-51696106  手机: 13122622909